產品中心
精細Y型天燃氣過濾器 燃氣過濾器
燃氣過濾器廣泛用于冶金、化工、石油、造紙、醫藥、食品、采礦、電力、城市、家庭等用氣領域。燃氣過濾器是輸送介質管道上不可缺少的一種裝置,通常安裝在減壓閥、泄壓閥、定位閥或其它設備的進口端,用來消除介質中的雜質,以保護閥門及設備的正常使用,減少設備維護費用。
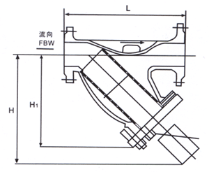
(示意圖如下:)

精細濾網濾芯:(看下圖)


當流體進入置有濾芯的過濾器后,其雜質被濾芯阻擋,而清潔的濾氣則由過濾器出口排出,當需要清洗時,只要把濾筒拆開,將濾芯取出,清洗后重新裝入即可,因此,燃氣過濾器使用維護極為方便。


